
地 址:上海市金山区兴塔工业区
咨询电话:021-57362601
图文传真:021-33250343
电子邮箱:hanyuev@126.com
网 址:http://m.maiby.cn
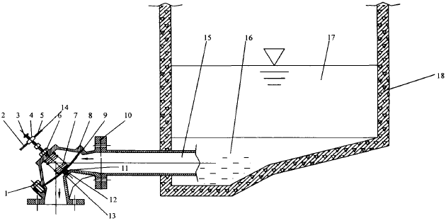
在供排水系统中, 一般都设有水池, 如沉淀池、供水池和蓄水池等,水中的泥沙会沉在水池的底部。随时间的推移, 沉积的泥沙不断增加,将影响水池的存水量,及供排水系统的有效运行。为了排除沉积泥沙,一般在池底部装上排泥阀,在泥沙於积到一定程度时,开阀排泥。流体动力角式隔膜排泥阀就是其中一种,流体动力角式隔膜排泥阀装在与水池底部相连通的管子上(图1)。
1、12.螺栓2、5、6、14.管接头3.调节柄4.换向阀7.弹簧8.阀盖9.隔膜
10.阀体11.密封座13.支座14.管接头15.排泥管16.沉淀物17.水体 18 沉淀池
图1 流体动力角式隔膜排泥阀应用
当不需排泥时, 三通阀中有压力流体与驱动腔相通,在流体压力和弹簧压力下,隔膜与阀体上凸台密封副接触,切断阀体进出口通路,此时三通换向阀与大气相通的管子处于关闭状态。当需要排泥时,调整三通换向阀开关,将有压流体与驱动腔隔断,而使驱动腔与大气相通,此时阀体进口处的隔膜在池子内蓄水的压力将大于大气压力,这样隔膜在驱动腔和阀体进口处两侧压力差作用下压缩弹簧,隔膜迅速与阀体凸台密封副分开,阀体进口与出口形成通道源源不断地排走池子底部泥沙水混合物。当泥沙排除后,调整三通换向阀开关,将驱动腔与大气隔断,而驱动腔与有压流体接通,此时驱动腔内压力将大于阀体内泥沙水混合物的压力,隔膜将迅速运动,直到与阀体上凸台密封面贴紧隔断阀体进出口通道,使排泥阀处于关闭状态。
网站首页